Клапаны обратные круглые искробезопасные АЗЕ
Клапаны обратные взрывозащищенные предназначены для вентиляционных систем взрывоопасных производств и устанавливаются во взрывоопасных зонах помещений.
Подробности
Наличие и цену уточняйте у наших менеджеров.
Клапаны обратные круглые искробезопасные АЗЕ
Применение
Клапаны обратные взрывозащитные предназначены для предотвращения перетекания воздуха при отключенном
вентиляторе. Клапан может быть установлен как в горизонтальном, так и в вертикальном воздуховоде. При установке клапана в вертикальном положении поток воздуха должен быть направлен снизу вверх. Рекомендуемая скорость движения воздуха перед клапаном - не менее 6 м/с.
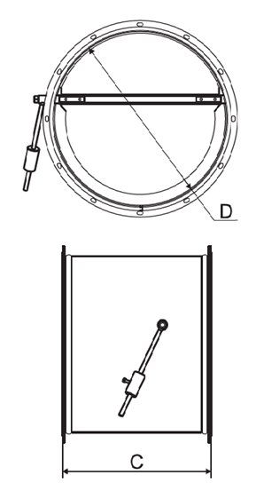
Конструкция
Клапан состоит из корпуса и заслонки сбалансированной противовесом позволяющим удерживать её в закрытом положении. Корпус заслонки изготавливается из оцинкованной или углеродистой стали, имеет фланцевое соединение. Заслонка или её обрамление изготавливается из алюминиевого сплава.
Пример обозначения : АЗЕ Ø100
АЗЕ – тип клапана, клапан обратный круглого сечения – искробезопасный
Ø100 – типоразмер, по присоединительному диаметру
| Обозначение | D | С | Обозначение | D | С |
| АЗЕ Ø100 | 100 | 90 | АЗЕ Ø450 | 450 | 435 |
| АЗЕ Ø125 | 125 | 115 | АЗЕ Ø500 | 500 | 485 |
| АЗЕ Ø160 | 160 | 150 | АЗЕ Ø560 | 560 | 545 |
| АЗЕ Ø200 | 200 | 190 | АЗЕ Ø630 | 630 | 615 |
| АЗЕ Ø250 | 250 | 235 | АЗЕ Ø710 | 710 | 695 |
| АЗЕ Ø315 | 315 | 300 | АЗЕ Ø800 | 800 | 785 |
| АЗЕ Ø355 | 355 | 340 | АЗЕ Ø900 | 900 | 885 |
| АЗЕ Ø400 | 400 | 385 | АЗЕ Ø1000 | 1000 | 985 |
Для покупки выбранного товара в Ростове-на-Дону достаточно оформить заказ одним из предложенных способов:
- Выбрать понравившийся товар и нажать кнопку «Заказать». При оформлении заказа заполнить форму. Вписать информацию в поля: ФИО, телефон и e-mail. Затем вам перезвонит менеджер, чтобы подтвердить ваше согласие на совершение покупки.
- Выбрать понравившийся товар и нажать кнопку «В корзину». Затем перейти в корзину и нажать «Оформить заказ». Далее заполнить форму с контактными данными и отправить заявку. С вами свяжется менеджер для дальнейшего обсуждения.
Оплата
Мы работаем с физическими и юридическими лицами. И предоставляем сразу два варианта оплаты.
- Наличные. Вы подписываете товаросопроводительные документы, расплачиваетесь денежными средствами, получаете товар и чек.
- Безналичный расчет. Принимаем карты Visa и MasterCard. Доступен при курьерской доставке.
Доставка в Донецке
Можем доставить ваш заказ собственными ресурсами. Либо через варианты доставки:
- Доставка транспортной компанией. Специалист предложит выбрать удобное время доставки и уточнит адрес.
- Самовывоз со склада. Для получения заказа обратитесь к сотруднику в зоне выдачи и назовите номер.
